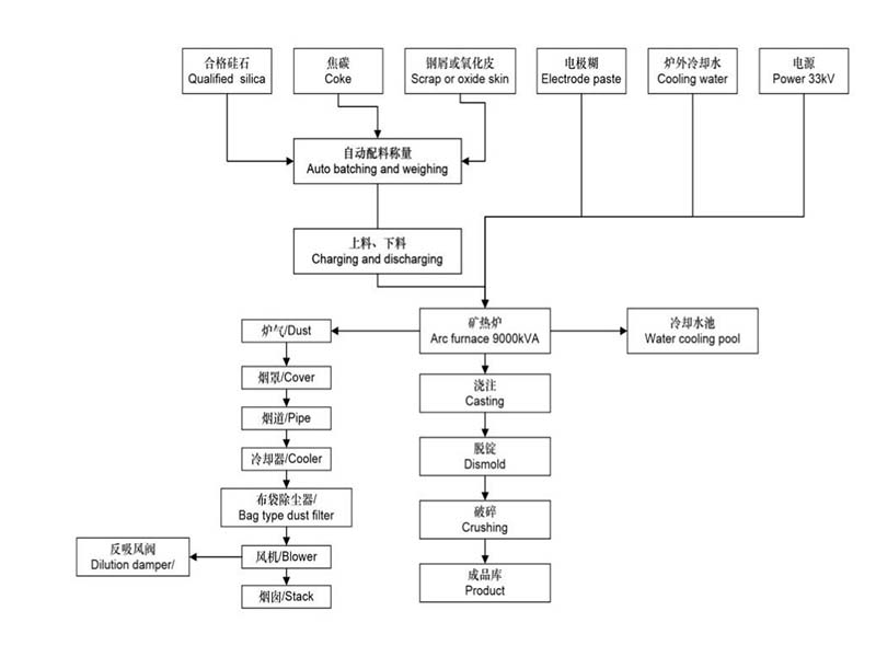
El proceso desde la materia prima hasta el producto terminado (FeSi) incluye el ciclo de producción completo de almacenamiento de materia prima, aceptación de combustible, dosificación, mezcla, reducción y extracción. Los equipos clave incluyen el horno de ferrosilicio, el taller de procesamiento de materia prima, el sistema de procesamiento por lotes automático, el sistema de alimentación, el sistema de circulación de agua de refrigeración, el sistema de eliminación de polvo, el sistema de suministro y distribución de energía, el sistema de automatización, el taller de fundición de ferrosilicio y el sistema de manipulación de productos terminados. El proceso cumple con los requisitos de GB/T 2272.
